Ember Defender
EmberDefender™ Vertical Shield Defense
EmberDefender™ Vertical Shield Defense
Couldn't load pickup availability
Ember Defender™ Vertical Home Shield
Protect Your Home from Ground to Gutter from Wildfire Embers
The Ember Defender Vertical Home Shield is a simple, powerful way to defend your home during wildfire events. When wildfires burn nearby, embers carried on the wind are the number one cause of home ignition. These firebrands can lodge in siding, enter vents, break windows, or ignite debris in gutters — often well before the flames themselves arrive.
The Institute for business and home safety has reported that the "zero zone" (a 5 foot perimeter around any home) is the most determined factor in the likelihood of home survival from a wild fire, ember attack.
The Vertical Home Shield creates a physical, fire-resistant curtain around your home that blocks embers, radiant heat, and direct flame contact on exterior walls and gutters. Unlike bulky full-house wraps or chemical sprays that wash away, the Ember Defender is modular, lightweight, and deployable by homeowners in minutes.
How It Works
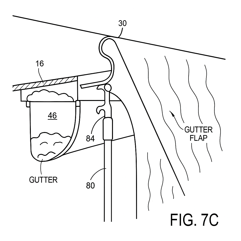
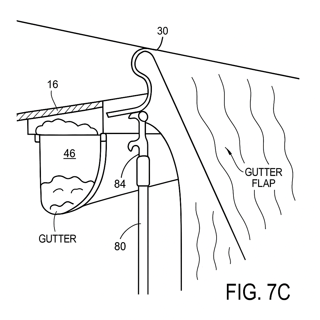
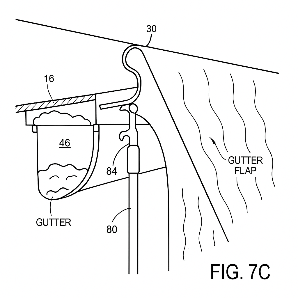
The system uses fire-resistant fabric panels that extend from the ground to your roofline.
Panels clip easily to your gutters or, for homes without gutters, attach using telescoping extension poles with stabilizing grips.
A special gutter flap folds over your gutters, sealing them against embers that would otherwise ignite dry leaves and debris.
The panels connect together to form a continuous shield, giving your home a strong defensive barrier where it’s most vulnerable.
Why It’s Effective
Blocks ember attack – Prevents hot embers from contacting siding, vents, and gutters.
Shields radiant heat – Reflective fiberglass fabric resists high temperatures and reduces heat exposure to your home.
Modular coverage – Protects one wall or your entire home depending on your needs and available time.
Homeowner deployable – No crews or special equipment required. Designed to be installed by one or two people with minimal setup.
Flexible options – Works for homes with or without gutters, and panels can be combined or used independently.
Advantages
Fast & simple self deployable when Fire Protection resources are stretched thin
Longer lasting than chemical fire retardant sprays.
Portable & reusable – Panels can be stored in compact bags or cabinets until needed.
Scalable – Protect a single wall, a side facing approaching fire, or your full perimeter.
Technical Specifications
Panel Material: Fire-resistant fiberglass fabric (optionally aluminized or coated), heat resistant to ≥1200°F.
Panel Dimensions: Approx. 30–40 ft per panel length; covers ground to gutter (8–12 ft height typical).
Panel Weight: ~60–80 lbs per section for manageable handling.
Gutter Flap: Integrated fabric overlay designed to fold over and seal gutters against ember entry.
Attachment Options:
Gutter clips (for homes with gutters).
Telescoping extension poles with stabilizing feet and pivoting grip pads (for homes without gutters).
Modular Design: Panels overlap with ties, snaps, or hook-and-loop fasteners for continuous protection.
Deployment Time: Stage-ready in 30 minutes with two people.
Storage Options: Folded bundles, portable bags, or backpack-style carriers (extension poles stored separately).
Share
